富凱IPO財經解讀公司第656期,本期關注浙江雅藝金屬科技股份有限公司(下稱“雅藝科技”)。
浙江雅藝金屬科技股份有限公司主營業務是戶外火盆、氣爐等戶外休閑家具的研發、設計、生產和銷售,公司的主要產品戶外火盆、氣爐系列產品。報告期內,公司約98%的營業收入為出口收入,且美國為主要出口國家,報告期內各期公司出口美國收入占當期營業收入的比例分別為82.32%、89.91%和92.68%。雅藝科技擬公開發行股票數量不超過1,750萬股,發行完成后公開發行股數占發行后總股本的比例不低于25%,本次擬募集40,250.00萬元分別用于,1、年產120萬套火盆系列、氣爐系列生產線及廠房建設項目25,554.50萬元;2、研發中心建設項目5,057.03萬元;3補充流動資金9,638.47萬元。
制圖:富凱IPO財經來源:雅藝科技招股書
此次,雅藝科技保薦機為興業證券保薦代表人 李圣瑩,尹涵。
制圖:富凱IPO財經來源:深交所官網
證券法第五章-信息披露“第七十八條 發行人及法律、行政法規和國務院證券監督管理機構規定的其他信息披露義務人,應當及時依法履行信息披露義務。
信息披露義務人披露的信息,應當真實、準確、完整,簡明清晰,通俗易懂,不得有虛假記載、誤導性陳述或者重大遺漏。”
“第八十五條 信息披露義務人未按照規定披露信息,或者公告的證券發行文件、定期報告、臨時報告及其他信息披露資料存在虛假記載、誤導性陳述或者重大遺漏,致使投資者在證券交易中遭受損失的,信息披露義務人應當承擔賠償責任;發行人的控股股東、實際控制人、董事、監事、高級管理人員和其他直接責任人員以及保薦人、承銷的證券公司及其直接責任人員,應當與發行人承擔連帶賠償責任,但是能夠證明自己沒有過錯的除外。”
富凱IPO財經,通過梳理雅藝科技上會稿招股書發現,雅藝科技和保薦機構及發行人“貌似”并未按照證券法相關規定執行。
招股書第1-1-100頁顯示,“公司現有監事會由3名監事組成,均具有符合法律、法規及規范性文件規定的任職資格。其中2名股東代表監事由股東大會選舉產生,1名職工代表監事由職工代表大會選舉產生。每屆任期三年,可連選連任。公司現任監事基本情況如下”
制圖:富凱IPO財經來源:雅藝科技招股書
招股書顯示“公司現有監事會由3名監事組成,均具有符合法律、法規及規范性文件規定的任職資格。”果真如雅藝科技和保薦機構興業證券·保薦代表人李圣瑩,尹涵 披露的“符合法律、法規及規范性”嗎?富凱IPO財經通過公開資料查詢發現,監事會主席、職工代表監事簡歷“疑似”存在造假和券商存在欺騙“深交所”嫌疑。
招股書第1-1-101頁顯示,“牛衛紅女士,1970年10月出生,中國國籍,無境外永久居留權,大專學歷。1987年4月至2003年12月,任集團有限公司質檢員;2004年1月至2010年10月,任光學銷售有限公司銷售員;2010年11月至2014年2月,任銀泰商廈行政經理;2014年3月至今,任發行人行政人力資源部人力資、源經理;2015年9月至今,任發行人監事會主席。”
制圖:富凱IPO財經來源:雅藝科技招股書
招股書顯示,“1987年4月至2003年12月,任鳳凰光學集團有限公司質檢員”但是,富凱IPO財經通過國家企業信用信息公示系統查詢顯示,“鳳凰光學集團有限公司”成立于“1996年02月28日”。也就是說“牛衛紅女士”提前9年入職了根本就不存在的公司。
制圖:富凱IPO財經來源:國家企業信用信息公示系統
同樣的錯誤又出現在副總經理宣杭娟女士身上,雅藝科技招股書第1-1-101頁-102頁顯示,”宣杭娟女士1983年4月出生,中國國籍,無境外永久居留權,本科學歷。2005年12月至2011年5月,任浙江天鑫運動器材有限公司外貿部部門主管;2012年5月至2017年10月,任發行人銷售部經理;2015年9月至2017年10月,任發行人監事;2017年10月至今,任發行人副總經理。”
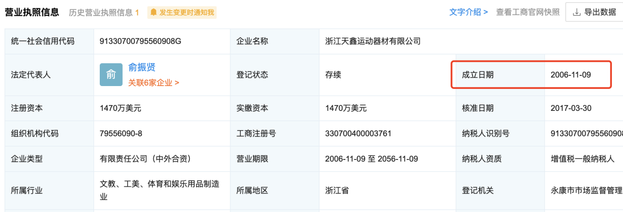
招股書顯示“總經理宣杭娟女士2005年12月至2011年5月,任浙江天鑫運動器材有限公司外貿部部門主管”但是富凱IPO財經對比公開資料顯示,“浙江天鑫運動器材有限公司”卻成立“2006年11月09日”同樣也是提前1年入職。
制圖:富凱IPO財經來源:企查查
招股書第1-1-224頁顯示,“報告期內公司的主要供應商比較穩定,均與公司存在長期的合作關系。其中2020年第一大供應商上海締皇實業有限公司及同一控制下的上海盯旺實業有限公司為報告期內新增供應商,公司與上海締皇實業有限公司、上海盯旺實業有限公司分別自2020年2月和2020年5月開始合作,采購與結算方式與其他同類產品供應商相同。”2020年雅藝科技向上海締皇實業有限公司(以下簡稱“締皇實業”)、上海盯旺實業有限公司(以下簡稱“盯旺實業”)聯合采購金額2,103.43萬元,占比12.20%為2020年第一供應商。
制圖:富凱IPO財經來源:雅藝科技招股書
富凱IPO財經通過企查查詢顯示,“締皇實業、盯旺實業”法人均為“馬強”,為何同一法人名下雅藝科技卻要采用聯合采購?招股書第1-1-127頁顯示,“公司對供應商進行嚴格的考察和篩選,選定為合格供應商后開始正式的合作。合作期間公司還會對供應商定期進行考核,對不合格供應商進行更換,加強事中控制以保證原材料質量合格、價格合理。”但是富凱IPO財經通過企查查顯示,“締皇實業、盯旺實業”兩家公司2018年、2019年、2020年年報顯示城鎮職工養老保險等均為“0繳納”,那么作為2020年雅藝科技向第一大供應商“締皇實業、盯旺實業”合計采購2,103.43萬元“冷軋板”誰生產的?對于第一大供應商興業證券保薦代表人 李圣瑩,尹涵是否做到盡職調查?
制圖:富凱IPO財經來源:企查查
制圖:富凱IPO財經來源:企查查
招股書第1-1-510頁顯示“第十二節聲明一、全體董事、監事、高級管理人員聲明
本公司及全體董事、監事、高級管理人員承諾本招股說明書的內容真實、準確、完整,不存在虛假記載、誤導性陳述或重大遺漏,按照誠信原則履行承諾,并承擔相應的法律責任。”
制圖:富凱IPO財經來源:雅藝科技招股書
招股書第1-1-511頁顯示“二、發行人控股股東、實際控制人聲明
本公司或本人承諾本招股說明書的內容真實、準確、完整,不存在虛假記載、誤導性陳述或重大遺漏,按照誠信原則履行承諾,并承擔相應的法律責任。”
制圖:富凱IPO財經來源:雅藝科技招股書
招股書第1-1-512頁顯示“三、保薦人(主承銷商)聲明本公司已對招股說明書進行了核查,確認招股說明書的內容真實、準確、完整,不存在虛假記載、誤導性陳述或重大遺漏,并承擔相應的法律責任。”
制圖:富凱IPO財經來源:雅藝科技招股書
既然,雅藝科技全體董事潘紅星、葉躍庭,冷軍;全體監事葉涌泉、姚成、牛衛紅;
高級管理人員程麗英、宣杭娟、葉金攀、潘紅星;
控股股東∶葉躍庭;
實際控制人∶金飛春躍庭葉金攀;
保薦人(主承銷商):項目協辦人張鵬;
保薦代保人:李圣瑩、尹涵;法定代表人:楊華輝。
均表示“聲明本公司已對招股說明書進行了核查,確認招股說明書的內容真實、準確、完整,不存在虛假記載、誤導性陳述或重大遺漏,并承擔相應的法律責任。”
那么針對上述問題發行人及券商興業證券·保薦代表人李圣瑩,尹涵 是否存在“欺騙”上交所及審核員?
免責聲明:本文為,[富凱ipo財經]原創文章,未經作者同意禁止轉載,轉載必究。本文所有內容均來自三方機構公開信息、法定義務公開披露的信息,【富凱IPO財經】原創內容及觀點客觀公正,但不保證其準確性、完整性、及時性等,本文內容中的信息或所表述的意見不構成任何投資建議,【富凱IPO財經】不對因使用本文所采取的任何行動承擔任何責任,如內容侵權請聯系小編。
來源:生活資訊網















評論前必須登錄!
立即登錄 注冊